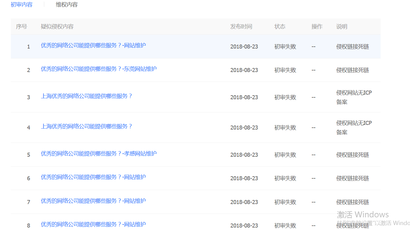
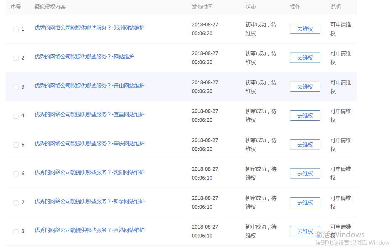
近期百度熊掌號上線了對原創文字的維權功能,百度會全網識別誰抄了你的文章,還會附帶鏈接給上,包含微信上面發布也是一樣逃不掉,知道這個消息的一瞬間,血冷是非常激動的,趕緊登陸百度搜索資源平臺看一看,果然有維權服務,如下圖(下面三圖分別是疑似侵權內容,申請維權后失敗,與初審成功的截圖)


從以上我們可用看出維權的流程還是比較完善的,基本上不會又什么不順。尷尬的是以下幾點不能維權
1.無ICP備案號的網站,因無ICP備案號,所以你無法找到網站所有者是誰,所以無法維權。
2.ICP備案為個人網站的無法維權,這個為什么無法維權血冷也不知道什么愿意,可能是因為維權難度較大吧。
3.所謂地死鏈接無法維權,鏈接沒有了也就無法截圖當證據了所以是無法維權的,但是有些程序員技高一籌,采集你的文章,又寫下屏蔽,蜘蛛會誤認為鏈接為死鏈接,所以是反饋回來是死鏈接無法維權。你可以打開那個鏈接依然可以看到文章是存在的,這里實在是想維權的話建議去網站截圖,保留找站長或者是百度人工通道維權。
4.1000字以下的文章通常全網無法識別,沒法維權
維權初審通過后,一般可以讓采集者支付稿費,也可以讓采集者把內容下架,通常一篇2000字的文章,稿費約為300元左右,一張圖片一般為1000-3000元左右。這些流程看起來是很好,沒有什么問他,實際上對于中小型站點原創者來說依然是維權困難,存在著維權尷尬。從以下幾點就可以說明
一.維權時間過長
雖然提供了這個維權通道,但是流程還是比較多的疑似侵權——申請初審——初審失敗或者是疑似侵權——申請初審——初審成功——繼續維權——選擇版權保護機構——反饋。若是遇見不配合的采集者通常需要3-6個月的時間,甚至更久。即使配合的采集站點,愿意和解的也要數月,這個時間無疑讓感到絕望,因為基本上大家每天都在創作,總不能每天都維權吧。
二.草根站長都很忙
一般草根站長都是身兼數職,比如血冷自己就是,辛辛苦苦寫的文章雖然被抄襲了,但是誰有那個精力進行維權啊,更何況維權過程那么漫長。若是流程簡化,幾分鐘就可成功倒是相信草根站長都愿意做。但是當今社會這樣是不可能的,所以也是尷尬問題之一。
三.舉證困難
這里所說的舉證困難并不是真的困難,主要是路程較多,還需要提供一些書面材料,版權維權協議授權書等,流程還是比較麻煩的,這樣弄下來雖然能維權成功,但是手續太多。另外中小型草根站長哪折騰地起,即使成功也會讓同行記恨,一不小心還會負面有自己公司的消息,能不尷尬嘛!
最后:希望各位站長采集的時候文章開頭添加下:文章來源、作者、原文鏈接(純文本鏈接即可,若是超鏈接的話后面一旦我們自己url更改,那么就會成為死鏈)。我們這些草根站長創作也只是喜歡能尊重一下我們,并不是真想索要一些賠償。同時希望百度能給原創站點多多提權,確保我們的利益在第一位,不要因一些大站采集了我們,而導致我們的排名靠后。
今天的內容就講到這里謝謝大家。






1096576.jpg)






















